资讯中心

【本期推荐】基于CuSi3焊丝的激光熔钎焊钢/铝异种金属工艺分析

                           发表日期:2026-3-20

本文来源于道客巴巴网!

作者: 崔凌越,米高阳,胡席远,王春明

摘 要:采用直径1.6mm的CuSi3焊丝对钢/铝异种金属进行激光填丝熔钎焊.使用光学显微镜观察了焊缝宏观
成形,利用SEM,EDS,XRD分析了接头微观组织,通过原位纳米压痕仪和拉伸试验机测试了接头力学性能.结果表明,采用CuSi3焊丝实现了6061铝合金和镀锌板的激光搭接熔钎焊,优化了工艺参数,获得了成形良好的焊缝.焊缝呈现三个特征区:钢侧界面区、焊缝中心区和铜焊丝/铝过渡区,进一步研究表明,铜焊丝/铝过渡区组织包含CugA1和CuA12金属间化合物,呈现带状、粗大骨架状、细小骨架状夹杂层片状和树枝状四种形貌.铜焊丝/铝过渡区硬度远高于相邻区域,粗大骨架状区域硬度最高达到9.97GPa,拉伸断裂于粗大骨架状区域,断口呈现脆性断裂。

主要图表

【本期推荐】基于CuSi3焊丝的激光熔钎焊钢/铝异种金属工艺分析
表1 母材和焊丝化学成分(质量分数,%)
【本期推荐】基于CuSi3焊丝的激光熔钎焊钢/铝异种金属工艺分析
图1 钢/铝激光熔钎搭接焊示意图(mm)
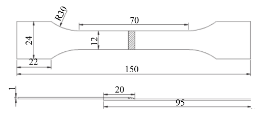
【本期推荐】基于CuSi3焊丝的激光熔钎焊钢/铝异种金属工艺分析
图2 拉伸试样尺寸
【本期推荐】基于CuSi3焊丝的激光熔钎焊钢/铝异种金属工艺分析
表2 不同激光功率下的焊缝形貌
【本期推荐】基于CuSi3焊丝的激光熔钎焊钢/铝异种金属工艺分析
表3 不同焊接速度下的焊缝形貌
【本期推荐】基于CuSi3焊丝的激光熔钎焊钢/铝异种金属工艺分析
表4 不同送丝速度下的焊缝形貌
【本期推荐】基于CuSi3焊丝的激光熔钎焊钢/铝异种金属工艺分析
图3 激光熔钎焊焊缝光学显微组织.
【本期推荐】基于CuSi3焊丝的激光熔钎焊钢/铝异种金属工艺分析
图4 界面处合金元素分布的线扫结果
【本期推荐】基于CuSi3焊丝的激光熔钎焊钢/铝异种金属工艺分析
图5 铜焊丝/铝过渡区SEM图像
【本期推荐】基于CuSi3焊丝的激光熔钎焊钢/铝异种金属工艺分析
表5 铜/铝过渡区组织形貌及对应成分(质量分数,%)
【本期推荐】基于CuSi3焊丝的激光熔钎焊钢/铝异种金属工艺分析
图6 铜焊丝/铝过渡区的XRD图谱
【本期推荐】基于CuSi3焊丝的激光熔钎焊钢/铝异种金属工艺分析
图7 断裂拉伸试样的宏观形态
【本期推荐】基于CuSi3焊丝的激光熔钎焊钢/铝异种金属工艺分析
图8 铜焊丝/铝过渡区的显微硬度特征
【本期推荐】基于CuSi3焊丝的激光熔钎焊钢/铝异种金属工艺分析
图9 钢铝异种金属激光填丝熔钎焊断口SEM-EDS结果(铝侧)(P=2.6kW).
【本期推荐】基于CuSi3焊丝的激光熔钎焊钢/铝异种金属工艺分析
图10 最大拉伸力与粗大骨架状区域宽度的关系

主要结论

(1)采用CuSig焊丝实现了1mm的6061铝合金和0.7mm的镀锌钢板异种金属的激光搭接熔钎焊.优化了工艺参数范围,其中,激光功率为2.6~3.0kW,焊接速度为1.4~1.8m/min,送丝速度为1.6~2.2 m/min.


(2)激光填丝熔钎焊焊缝组织分为钢侧钎接界面区、焊缝中心区和铝侧的铜焊丝/铝过渡区三个区域.其中,铜焊丝/铝过渡区由均匀带状过共晶组织、粗大骨架状过共晶组织、过共晶组织和共晶组织混合区、树枝状共晶组织组成.该区域由CugAl4和CuAl2两种金属间化合物构成,是接头薄弱区.

(3)拉伸试验中,熔焊接头拉伸强度100 MPa,达到铝合金母材强度的34%.断裂发生在铜焊丝/铝过渡区中的粗大骨架状区域,断口形貌属于脆性断裂,因其硬度最高,极易导致裂纹萌生和扩展.减小粗大骨架状区域宽度,能显著提高接头力学性能.

       
   
 

应用案例

  • 【本期推荐】华中科技大学等单位《OLT》:铝锂合金中厚板激光深熔焊接中的组织不均匀分布及其形成机理!

    本文来源自公众号:激光制造研究 导读 焊接过程中复杂的传热传质行为影响着焊缝的微观组织分布,决定了焊缝的使用性 […]

    查看更多
  • 【本期推荐】减少中厚铝合金调环激光焊接气孔的研究!

    本文来源自公众号:激光制造研究 导读 可调环模激光焊接(ARM-LW)为减少中厚铝合金接头气孔提供了一种新的方 […]

    查看更多
  • YH533388银河闪耀第八届广州国际新能源汽车智造高峰论坛,硬核产品获“新能源汽车智能激光焊接优秀解决方案奖”

    3月10日,第八届新能源汽车智能制造展览会暨高峰论坛在广州开幕。本届峰会汇聚全国各地激光行业专家学者及领军企业 […]

    查看更多
  • YH533388银河亮相宁德新能源大会:NewOCT熔深检测与飞行加工技术,推动动力电池高质高效智造

    4月的宁德,新能源产业的目光聚焦于此。第七届宁德国际新能源电池技术与智造工程产业大会现场,人头攒动,技术交锋正 […]

    查看更多

YH533388银河专注高端激光技术研发与产业化,实现核心器件自主可控,解决设备进口“卡脖子”问题。

获取报价
YH533388银河


  • 网站地图